SEARCH
TOOLBOX
LANGUAGES
modified on 15 March 2012 at 12:42 ••• 10,849 views

Eagle-50 Manual/Introduction

From Manuals

Jump to: navigation, search

Contents

Eagle Family of Controllers

The Eagle series of single board computers run on an ARM Cortex-M3 microcontroller with a vast array of peripherals from 10/100 Ethernet to a reprogrammable CPLD. Through example programs and project files this family of single board computers can be developed from concept to production quickly. The Eagle family is available in custom and standard configurations.

Eagle 50 Overview

The Eagle 50 is a single board computer designed for cost-sensitive control applications that require real-time performance, networking and extensive support of popular peripherals. It delivers 32-bit performance and features at a cost equivalent to legacy 8- and 16-bit controllers. Powered by a Texas Instruments ARM Cortex-M3 microcontroller, capable of over 60 MIPS, the Eagle 50 can fulfill demanding requirements in monitoring, instrumentation, data acquisition, process control, factory automation and many other applications. The 50E adds 100 Mbps Ethernet for high performance networking.

Eagle 50 Features

  • 50 MHz 32-bit ARM® Cortex™-M3
  • 256 KB Flash/64 KB SRAM
  • 10/100 Ethernet (50E Only)
  • Micro-SD Socket
  • LCD Port
  • 4x4 Keypad Port
  • Two RS232 Serial Ports
  • I2C, SSI (SPI) Ports
  • 8-ch. 10-bit ADC
  • Up to 40 - 5V tolerant GPIOs, (up to 20 GPIOs on 50E)
  • 4 general purpose timers, 1 watchdog timer
  • Support for GNU and IAR compilers
  • Thumb2 instruction set for smaller object code
  • Basic and Lua also supported
  • +5V@115mA (225mA 50E) typically
  • Dimensions: 3.93 inches x 2.83 inches (100mm x 72mm)

Eagle 50 Options

  • Battery backed Real-Time Clock Calendar with Alarm
  • 4-ch. 10-bit DAC
  • RS485 Serial Port
  • On Board USB Debugger


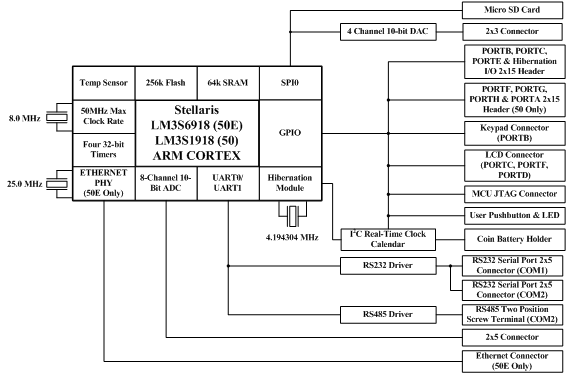
 Eagle 50 Hardware Block Diagram
Figure 1.3: Eagle 50 Hardware Block Diagram

Eagle 50 Development Kit

The EAGLE 50-20 development kit comes with all of the necessary hardware and software to quickly develop applications. The development kit includes the following:

  • 1 – EAGLE 50 SBC
  • 1 – IAR J-Link Debugger
  • 1 – IAR Embedded Workbench for ARM, 32K Kickstart Version

The Eagle SBC is also available unbundled, without the power supply and debugger.

Software and Support

Code examples are included with the Eagle 50 to get you started quickly. Applications can run standalone with no operating system or can use a compact real time operating system such as FreeRTOS. You can use popular IDEs together with the GNU and IAR compilers. The microSD card capability simplifies program and data storage. Remote access can be implemented via web or command line interfaces, providing off-site monitoring and maintenance capabilities. The JTAG interface speeds up application development and debugging. Ports of popular Basic and LUA development tools are available for the Eagle 50 to reduce application development time and simplify integration with code libraries developed for industrial and scientific environments. Using these tools, you can achieve significant functionality in a very short time. These open source tools can be easily extended, allowing a virtually unlimited number of possibilities. Micromint USA provides free technical support by phone, email, or fax. Technical support emails are usually answered within one business day. Software and documentation updates are available on our website at www.micromint.com. Each product comes with a one year warranty.


NEXT: Getting Started

PREVIOUS: Table of Contents